الفيديو فعلا للاسكندر و هو يستعمل نظام توجيه قديم اخترعه و استعمله الالمان على صاروخ V2شكرا أخي على الموضوع
لفت إنتباهي بعض الأخوة يعتقد بضرورة وجود أجنحة للتوجيه و هذا غير دقيق
هناك عدد من الطرق لتغيير مسار أو توجيه أي صاروخ بدون وجود أجنحة.
وأيضا لا يمكن توجيه صاروخ بسرعات عاليه غير دقيق أيضا، حيث يمكن توجيهها ولكن ستكون العملية معقدة بشكل أكبر من ناحية التصنيع و المواد المستخدمه.
و يسمى ب Thrust Vane او Jet Vane و استعمل منذ عقود مضت في خليفة ال V2 المباشر صاروخ ريدستون الامريكي.
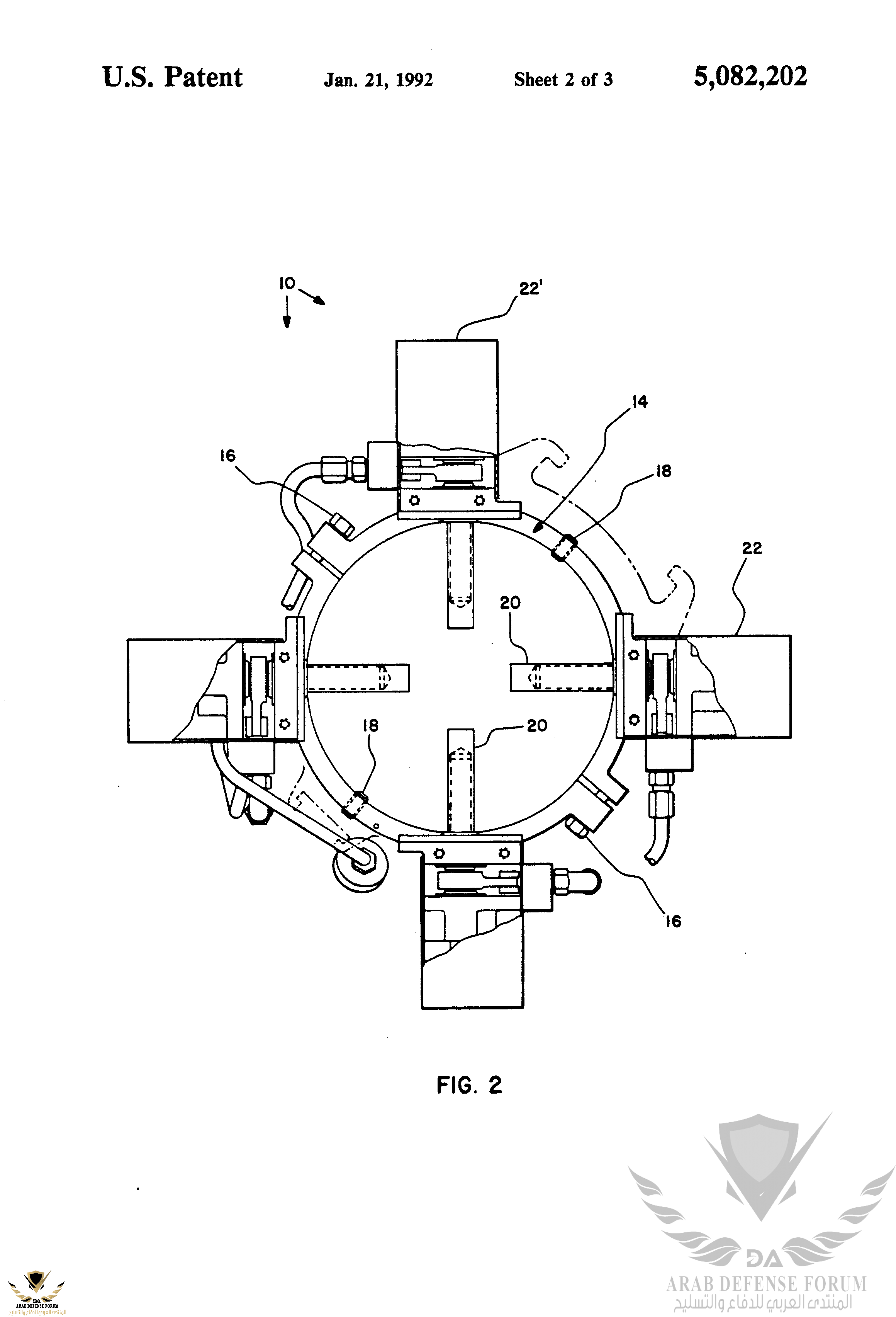
النظام يحول طاقة الدفع من وسطي مركزي الى جانبي عبر اجنحة صغيرة في فوهة الدافع كما هو ملاحظ في الصورة و هذه التكنولوجيا تم تطويرها اكثر من الجانب الامريكي للقيام بمناورة ارتفاع عمودي لصاروخ في وضع افقي و هو ما يفعله الاسكندر في الفيديو و هو كل ما يستطيع فعله.
الصورة توضح وجود هذا النظام على الاسكندر
Tell me something new





